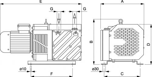
Vacuum pumps without lubrication GPZS 60-140
| Art. | Volume aspiratoVacuum flowVakuum-Durchsat | Press. finaleFinal pressure ABSEnddruck | VelocitàRpmGeschwindigkeit | Potenza motoreMotor powerMotorleistung | PesoWeightGewicht | A | B | C | D | E | F | G | |||
|---|---|---|---|---|---|---|---|---|---|---|---|---|---|---|---|
| 50 Hz Mc/h |
60 Hz Mc/h |
mbar (ass.) | 50 Hz g/min |
60 Hz g/min |
50 Hz Kw |
60 Hz Kw |
kg | ||||||||
| GPZS 60 | 60 | 70 | 120 | 1400 | 1700 | 1.5 | 1.8 | 66 | 363 | 382 | 305 | 341 | 692 | 348 | 1" |
| GPZS 80 | 80 | 90 | 120 | 1400 | 1700 | 2.2 | 2.7 | 71 | 363 | 382 | 305 | 348 | 722 | 348 | 1" |
| GPZS 100 | 100 | 115 | 120 | 1400 | 1700 | 3.3 | 3.7 | 87 | 363 | 382 | 305 | 348 | 820 | 348 | 1-1/2" |
| GPZS 140 | 130 | 150 | 120 | 1400 | 1700 | 4 | 4.4 | 95 | 363 | 382 | 305 | 362 | 820 | 348 | 1-1/2" |
- Vacuum pumps without lubrication - 2-4 mc/h
- Vacuum pumps without lubrication - 6-10 mc/h
- Vacuum pumps without lubrication G series - 10-25 mc/h
- Vacuum pumps without lubrication G series - 30-35 mc/h
- Vacuum pumps without lubrication GPZS 5
- Vacuum pumps without lubrication GPZS 10
- Vacuum pumps without lubrication GPZS 16-40
- Vacuum pumps without lubrication GPZS 60-140